在工程设计行业数字化转型加速推进的背景下,勘察院、设计院、工程类企业对项目管理精细化、跨部门协同高效化、业务数据透明化的需求日益迫切。然而,传统管理模式难以适配这一发展趋势,业财割裂、质量管控形式化、设计协同低效等问题逐渐凸显,成为制约企业突破发展瓶颈的关键障碍:
业财融合不足:成本难以精确拆分到部门及项目,收入与成本确认依据模糊,财务规则与业务形态脱节;
知识资产分散:项目资料分散在不同部门及个人手中,成果与经验难以沉淀复用;
协同效率低下:设计工具不统一,专业内及跨专业协作流程繁琐,校审与设计进度不同步;
生产管理粗放:多项目并行时,进度跟踪困难,任务负载不清晰,资源调配滞后;
质量管理形式化:ISO体系落地难,质量问题统计滞后,标准规范执行不到位;
经营数据滞后:合同履约、收款支出、盈利水平等关键数据难以及时掌握,影响决策效率。
在此背景下,构建覆盖项目全生命周期、融合数智技术的管理平台,实现从市场开发到成果交付的全流程数字化管控,成为工程设计企业突破管理瓶颈、提升核心竞争力的必然选择。
![]()
一个平台,让工程项目全流程智能管控
蓝凌智能工程项目管理平台以“全流程数字化、管理精细化、协同高效化”为核心,通过数字化手段整合经营管理、项目管理、财务管理、协同设计及项目档案模块,实现业务全流程的数字化管控闭环,赋能管理过程透明化、规范化,让跨部门与跨专业协同更高效。

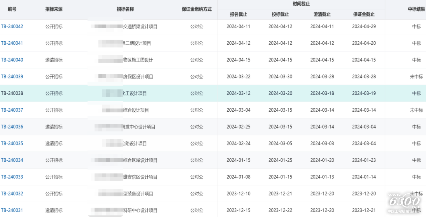
1. 承接管理:全流程市场与合同管控
以“备案、投标、合同、采购”为主线,整合市场开发全流程关键环节,通过标准化流程与数据联动,构建从前期商机挖掘、投标跟进到合同签订、款项回收的闭环管理体系,实现市场资源集中管控、投标状态/合同履约动态跟踪、资金精准管理等,全面提升企业市场响应速度与经营决策效率。

客户与项目备案:建立客户库和项目机会库,自动跟踪项目进展,确保商机不流失。

投标管理:覆盖投标报名、标书编制、在线审批、保证金支付与退回全流程。系统自动提醒保证金退还情况,避免资金占用风险。

合同管理:支持合同签订、履约保证金支付、补充协议调整、结算、发票等全流程在线管理,合同台账实时汇总合同额、开票额、收款额及应收款,清晰呈现履约状态。

采购管理:支持针对采购需求签订采购合同,按关联合同付款计划执行付款,确保合规。

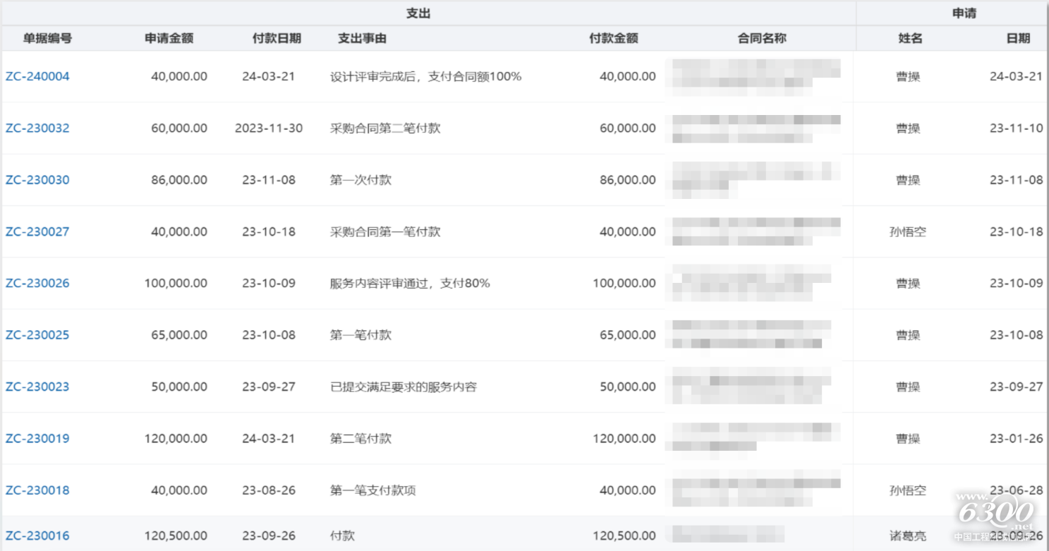
2. 财务管理:业财一体化管控
深度整合项目全周期资金流动环节,支持保证金管理、发票处理、收入/借款管理等功能,通过业务数据与财务数据的实时联动,实现资金流向全程可追溯、成本核算精准化、风险预警自动化,为企业资金管理与决策提供可靠支撑。

财务门户:包括财务总监门户、财务人员门户等,支持针对不同角色提供差异化服务。支持以图表形式展示全局财务指标,支持历年数据对比及月度动态,帮助实时掌控企业财务状况。
![]()
保证金管理:统一管理投标及履约保证金的支付与退回,实时跟踪未退金额,超期自动向负责人推送提醒,降低资金风险。
发票与收入管理:开票申请关联合同收款计划,支持发票作废 / 红冲;收入登记自动回写合同及发票回款信息,银企直连可自动抓取到款数据,减少人工操作。

借款与支出管理:项目借款需经审批,支持多次冲抵或部分归还;费用报销可按项目或部门分摊,自动归集到对应成本账,确保成本核算精准。
财务台账:项目成本账实时汇总收入与支出明细,项目资金账跟踪每笔资金流向,为成本分析提供数据支撑。
![]()
3. 项目管理:全生命周期精细化管控
以“进度、质量、成本”为核心,通过 SOP规范项目管理,实现从立项策划到收尾归档的全流程规范化管控,并整合项目执行过程中的业务数据,通过角色化门户与数智工具,实现项目各环节责任清晰、进度可控、质量可溯,确保项目按目标推进。
![]()
立项与策划:按项目类型匹配SOP模板,快速完成团队组建、任务拆分与工期规划,预设输出成果标准,为执行奠定基础。
![]()
进度与任务跟踪:以看板、门户等工具实时展示任务状态,实现超期与待办任务跟踪;OPPM工具清晰呈现人员负载,支撑资源动态调配。

质量管理:将ISO体系及设计校审要点、风险点等嵌入设计流程,通过项目定案会、专业定案会、设计变更在线审批等强化过程管控,确保质量问题可追溯。
成本管控:实时同步财务数据,项目成本账与资金账动态更新,确保成本核算精准。
项目变更:支持项目名称、状态、人员等变更信息在线审批,流程化管控确保变更合规,调整后自动更新相关计划与数据。
![]()
沟通管理:对项目收函、项目发函、会议记录等对外的沟通进行流程化管控,并形成项目沟通档案,便于经验复用。
4. 项目档案:全生命周期成果管理
聚焦项目成果从立项建档到归档利用的全生命周期管理,通过标准化编目规则、自动化归集机制与安全化利用流程,实现项目资料的系统化沉淀与高效复用。
系统支持按项目类型、年度自动生成档案编目,手动或自动整合过程文件、成果图纸、合同资料等多类数据,通过在线借阅管理、权限管控、到期回收等功能保障档案安全利用,同时通过检索统计功能挖掘档案价值,为企业知识资产积累与复用提供坚实支撑。

5. 协同设计:跨专业高效协作平台
协同设计模块基于 CAD 专业设计软件构建统一工作环境,整合设计、提资、校审、出版、归档全流程,为生产团队提供集成化协作工具,提升设计质量与跨专业协作效率。
![]()
统一工作环境:支持AutoCAD、中望CAD等主流工具,确保各专业可在统一环境中开展工作;支持划分公共文件区、共享区、工作区、成品区等,实现文件有序管理;统一标准化管理,支持图框、线型、字体、打印样式等标准文件统一维护,确保设计规范一致。
![]()
资料互提与校审:采用分级机制,专业内优先采用零件图方式;专业间优先采用条件图方式,支持版本对比功能,确保上下游数据一致性。支持实时在线校审、要点校审、红线批注、二次校验,校审意见可追溯,形成“提出 - 修改 - 验证”的闭环管理。

数字化出版:支持全流程自动化处理,自动识别图框、批量拆图、签名签章,生成唯一图纸身份码,确保版本唯一;支持 PDF、PLT 等格式转换,与档案管理联动实现归档一体化。
五大核心价值:让工程管理提质增效
管理透明化:经营、财务、项目数据实时可视化,管理层可通过门户与图表直观掌握合同履约、进度偏差、成本波动等关键信息,决策更精准。
流程规范化:质量标准、成本规则、审批节点嵌入业务流程,从投标保证金跟踪到设计变更管控,全程留痕可追溯,降低人为风险。
协同高效化:统一设计环境打破专业壁垒,在线校审、数字化出版等工具缩短沟通周期;业财数据联动减少重复录入,提升跨部门协作效率。
知识资产化:项目档案全生命周期管理,实现成果图纸、经验总结的系统化沉淀与授权复用,助力企业技术能力持续积累。
应用多态化:资源整合,支持多业态、多主体的运营,即溶合又独立。不同业务实施个性化、精细化、贴心式管理,实现高度适用和好用。通过多租户技术隔离各业态数据和业务。
蓝凌软件2001年成立于深圳,网页搜索“蓝凌软件官网”“蓝凌门户”或关注微信公众号“蓝凌数智化工作平台”),添加蓝凌顾问,申请免费体验蓝凌数字化办公产品方案!
友情提醒 |
本信息真实性未经中国工程机械信息网证实,仅供您参考。未经许可,请勿转载。已经本网授权使用的,应在授权范围内使用,并注明“来源:中国工程机械信息网”。 |
特别注意 |
本网部分文章转载自其它媒体,转载目的在于传递更多行业信息,并不代表本网赞同其观点和对其真实性负责。在本网论坛上发表言论者,文责自负,本网有权在网站内转载或引用,论坛的言论不代表本网观点。本网所提供的信息,如需使用,请与原作者联系,版权归原作者所有。如果涉及版权需要同本网联系的,请在15日内进行。 |
2025CICEE长沙工程机械展专题
bauma CHINA 2024上海宝马工程..